Superbike: Honda introduce la precamera di combustione, tecnologia F1

Superbike
martedì, 15 dicembre 2020 alle 18:10
eprtc0oxmaawrjo 1
[fncvideo id=281475 autoplay=true]
L'attuale generazione di motori F1 V6 turbo da 1,6 litri rappresenta probabilmente la più avanzata tecnologia a combustione interna mai sviluppata. Solo quattro produttori hanno fatto il grande passo, e hanno osato fare i pesanti investimenti necessari per crearli. Sebbene Honda si ritiri dalla categoria dopo il 2021, sta già cercando di trasferire la tecnologia sviluppata in gara sui mezzi di produzione (e probabilmente anche in Superbike...).
Si può immaginare come i veicoli a motore ne trarrebbero vantaggio. Tuttavia per molti versi i motori delle moto sono soggetti a regimi elevati e ad una potenza specifica simile alla F1. Almeno una delle tecnologie chiave dell'ultima era F1 sta per essere trasferita alle moto di serie nel prossimo futuro. La tecnologia in questione si chiama accensione a precamera e consente ai motori di utilizzare miscele più "magre" e rapporti di compressione più elevati. Dando così più potenza e consumando meno carburante.
honda pre chamber combustion 4 001
Ottenere la giusta miscela di aria e carburante in un motore è una delle maggiori sfide per massimizzare le prestazioni. In teoria esiste un rapporto stechiometrico ideale tra aria e carburante (la combustione può avvenire solo quando si ha 1 g di benzina con 14,7 g di aria). Ma i motori generalmente girano con più carburante per abbassare la temperatura dei cilindri e ridurre il rischio di detonazione quando la miscela in camera di combustione si autoinfiamma invece di bruciare in modo controllato. L'esplosione causata dalla detonazione può addirittura causare la perforazione dei pistoni.
piston cliquetis
La combustione in precamera, come quella degli attuali motori F1, è una soluzione che consente alla candela di accendere una parte molto piccola di miscelazione, con più carburante. Fa poi rientrare i getti di questa miscela ardente nella sezione principale della camera di combustione, riempita con una miscela meno ricca. In modo da farla bruciare, generando energia, senza provocare una detonazione. Il risultato è un motore più potente, più pulito ed economico. E sicuramente molto più tecnologico.
honda pre chamber combustion 001
In F1, il problema della combustione della precamera è complicato da regole che consentono ai progettisti di utilizzare solo un iniettore di carburante per cilindro. Questo limite rende difficile avere la miscela "grassa", cioè con tanta benzina e poca aria, nella precamera, e una miscela più "magra" nella camera di combustione principale. Non avendo tali vincoli su una moto di serie, Honda ha progettato un sistema (rivelato da nuove richieste di brevetto) che utilizza due iniettori per cilindro.
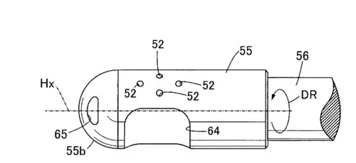
Il primo iniettore è abbastanza convenzionale. Invia il carburante subito dopo la farfalla in modo che entri nel cilindro attraverso la valvola di aspirazione. Questo è il funzionamento di qualsiasi motore di moto che conosciamo. Il trucco è che c'è anche un secondo iniettore installato in una piccola precamera, sopra la camera di combustione principale. La candela fuoriesce anche nella precamera. Un cilindro rotante azionato dall'albero a camme separa selettivamente la precamera dalla camera di combustione principale.
È qui che il design del motore motociclistico brevettato Honda è molto diverso dalla tecnologia F1. Il cilindro rotante è una sorta di tubo in cui vengono praticati dei fori accuratamente posizionati. In modo da eseguire più operazioni in diverse fasi del ciclo del motore quando è in rotazione.
honda pre chamber combustion 3 001 600x276
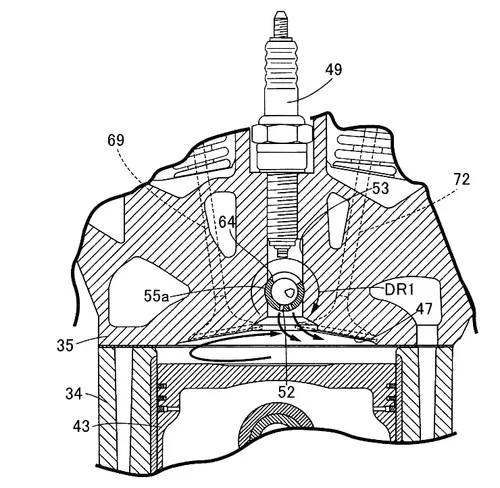
La parte principale del cilindro, che costituisce effettivamente la sezione centrale superiore della camera di combustione principale, ha un grande orifizio su un lato. Si presenta nella camera di combustione durante le fasi di scarico e aspirazione, consentendo alla precamera di essere ripulita dai gas di scarico e riempita con una miscela fresca, ma magra. Durante la fase di compressione, il cilindro ruota per presentare una sezione chiusa alla camera di combustione principale. Mentre un piccolo foro in prossimità dell'iniettore della precamera si apre per introdurre in essa un ulteriore getto di carburante.
All'accensione, il grande orifizio si trova nella parte superiore del cilindro e una serie di piccoli orifizi si allineano con la parte superiore della camera di combustione principale. Quando la candela sprigiona la scintilla, accende la miscela ricca nella precamera. Questa miscela incendiata e in espansione attraversa a getti a i piccoli orifizi, diffondendosi attraverso la miscela magra all'interno della camera di combustione principale per accendersi in modo controllato.
honda pre sequence 3 001 600x400
Mentre la F1 ha recentemente concentrato il suo sviluppo sulla combustione in precamera, il pensiero di Honda risale a molto più indietro. In effetti, lo stesso Soichiro Honda aveva supervisionato lo sviluppo del sistema "CVCC" (Compound Vortex Controlled Combustion) della società giapponese nei primi anni '70. Questo sistema era montato su Honda Civics negli anni '70. Anche se con un carburatore al posto dell'iniezione, il CVCC presentava una precamera, al cui interno era installata la candela. Più una seconda piccola valvola di aspirazione che permetteva una miscela più ricca nella precamera rispetto alla miscela che entrava nella camera di combustione principale.
Questo sistema ha permesso alla Honda di rispettare i limiti di emissione degli Stati Uniti nel 1975. Tutto questo senza l'utilizzo di un catalizzatore di scarico costoso, pesante e che riduce la potenza, prerogativa di tutti i concorrenti costretti ad adottarlo. Sebbene la nuova domanda di brevetto dell'azienda non specifichi a quali moto potrebbe essere destinata, le illustrazioni mostrano chiaramente i contorni della FireBlade. Suggerendo che questo sistema dovrebbe essere riservato ai modelli Superbike.
[correlati]Superbike[/correlati]

Continua a leggere

loading

Potrebbe anche piacerti

Altre notizie

Loading