MotoGP: holeshot device, le prime tracce in un brevetto Ducati 2002

MotoGP
sabato, 16 gennaio 2021 alle 17:54
ducati brevet shapeshifter cover e1610814143833
[fncvideo id=285363 autoplay=true]
di Paul Emile Viel
In origine era destinato alla frenata, più che in fase di accelerazione e controllato dal pilota. Parliamo del sistema di correzione dell'assetto della moto in corsa, ora conosciuto in MotoGP come 'holeshot device'. Ma un qualcosa di simile era stato brevettato nel 2002. Da Claudio Domenicali, all'epoca Manager Ducati Corse e attualmente AD Ducati Motor Holding.
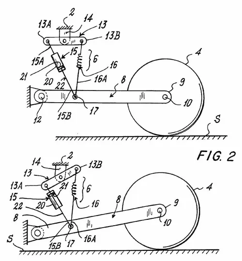
Parliamo di un brevetto depositato dalla Ducati quasi 20 anni fa, scritto da Claudio Domenicali e Filippo Preziosi. Troviamo un sistema di sospensione posteriore con un attuatore idraulico nel leveraggio, che regola automaticamente l'altezza del telaio. Questo il titolo di domanda e brevetto: "Moto con sospensione posteriore attiva per una migliore frenata". Non si tratta assolutamente di un sistema completamente attivo. Tuttavia il concetto di base e il primo elemento costitutivo sono già presenti.
Il sistema rileva quando la motocicletta sta frenando, tramite un sensore di pressione, un sensore di marcia situato sulla forcella. Oppure rileva quando l'acceleratore viene chiuso improvvisamente. Di conseguenza abbassa la parte posteriore della moto, piegando l'attuatore. Ciò abbassa il baricentro complessivo e consente al pilota di frenare in modo più aggressivo, senza che la ruota posteriore della moto si alzi da terra. Conclusa la frenata, l'attuatore torna nella posizione iniziale, riportando il telaio nella posizione normale.
ducati brevet shapeshifter 1
Operando solo in frenata, il cilindro non dovrebbe modificare velocemente l'altezza del telaio. Un sistema completamente attivo deve poter muovere la ruota in pochi millisecondi. Questa è la differenza sostanziale tra quanto descritto nel brevetto Ducati e un sistema di sospensioni veramente attivo. La tecnologia delle sospensioni attive è disponibile e alcune automobili di fascia alta ce l'hanno. Ma per le motociclette l'ostacolo principale è l'attuatore. Le unità elettromeccaniche utilizzate sono ingombranti e richiedono una notevole quantità di energia elettrica. Inoltre, sebbene i cilindri idraulici siano di dimensioni convenzionali, richiedono pompe e potenza per azionarli.
ducati brevet shapeshifter 2
Un'idea poi abbandonata da Ducati, fino a pochi anni orsono. Gigi 'Gadget' Dall'Igna infatti ha utilizzato quella prima idea del suo attuale Direttore, adattandola alle normative MotoGP in vigore. L'attuale sistema permette quindi di gestire la geometria e il baricentro della moto durante la fase di uscita di curva, in accelerazione. I piloti lo azionano tramite una leva presente sul manubrio, visto che un sistema automatico è vietato. Ne avevamo parlato qui. Il resto della storia lo conosciamo.
[correlati]MotoGP[/correlati]

Continua a leggere

loading

Potrebbe anche piacerti

Altre notizie

Loading