Yamaha patents a grip regulator: it won't be allowed in MotoGP, but it might be in Superbike

MotoGP
Saturday, 14 February 2026 at 16:19
brevetto-yamaha-1
by Marc Seriau/paddock-gp
Reading the patents filed by the various manufacturers involved in MotoGP is always instructive, but this time Yamaha’s technical invention to find rear grip unfortunately won’t be applicable to the M1… But who knows, maybe it will come in handy for the R1 in Superbike?

A quick flashback

Since the end of 2018, Ducati has introduced in MotoGP a series of systems designed to limit wheelies and increase acceleration grip. Starting with the holeshot device tested by Jack Miller, the evolution quickly led to ride-height devices, first at the rear and then at the front (August 2021).
Since 2023, front ride-height devices have been banned. Only holeshot devices for race starts remain. Rear ride-height devices are still under continuous development: Ducati will use a newly designed one in the World Championship that kicks off in a few days. However, in 2027 this device will be banned.
That’s why, when we saw this patent filed by Michiharu Hasegawa (an employee of Yamaha Hatsudoki Kabushiki Kaisha), which supposedly guaranteed rear grip, we initially thought it was some kind of stopgap solution for future MotoGP regulations.
Description:
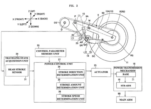
"A motorcycle (1) is composed of a frame (2), a pivot shaft (P), and a swing arm (9). The pivot shaft (P) is supported by the frame (2). The swing arm (9) is connected to the frame (2) via the pivot shaft (P). The swing arm (9) rotates around the pivot shaft (P) relative to the frame (2). The swing arm (9) supports a rear wheel (11) via a rear wheel axle (R)."
The rear arm (9) includes at least a first arm (9A), a rotating shaft (M), and a second arm (9B). The first arm (9A) is connected to the frame (2). The first arm (9A) rotates around the rotating shaft (P) relative to the frame (2). The rotating shaft (M) is located at the rear end of the first arm (9A). The second arm (9B) is connected to the first arm (9A) via the rotating shaft (M). The second arm (9B) rotates around the rotating shaft (M) relative to the first arm (9A). The second arm (9B) supports the rear wheel (11) via the rear wheel axle (R)."
In short, a double swingarm articulated on two axes, whose inclination then turns out to be managed by an electronically controlled actuator.
Yamaha patent diagram showing a two-axis articulated rear swingarm with actuator

Yamaha’s solution... Not for the M1 

Ouch! It seems the chance of seeing something like this in MotoGP is gone, since all electronic controls related to suspension are banned!
It’s a pity because, after 45 pages of complicated formulas, abstruse graphs, and tables of the same kind, including those on the consequences of chain pull effect—which inevitably brings to mind the work of Eric Offenstadt—the promises were enticing...
"[0047] The gripping force of the rear wheel can be adjusted during motorcycle acceleration.
[0051] The gripping force of the rear wheel can be adjusted when the motorcycle is decelerating.
[0053] The gripping force of the rear wheel can be adjusted while the motorcycle is cornering.
[0057] The gripping force of the rear wheel can be adjusted when the control unit is operated by the rider."
Patent illustration detailing rear wheel grip adjustment scenarios
So it certainly won’t be possible to adopt it on the M1 in MotoGP. But for the R1, why not?

Continue reading

loading

You might also like

Loading