MotoGP Tech: The Yamaha Patent That Reveals the Secrets of Downwash Ducts

MotoGP
Sunday, 11 January 2026 at 18:00
SPY-Yamaha-1
by Marc Seriau/paddock-gp
Introduced by Ducati, the Downwash Ducts are now adopted by all MotoGP manufacturers, but it’s a patent filed by Yamaha for production bikes that explains their appeal.
They first appeared during the pre-season tests in Qatar (Doha) in March 2021, initially tested by test rider Michele Pirro, then adopted by factory riders Jack Miller and Francesco Bagnaia. Unusual elements at the time, they now adorn the front of all lower fairings, except on KTMs where they are internal.
But as common as they had become, no one in the paddock could (or would) explain how they worked; everyone offered their own theory, ranging from “cleaning dirty air” to the “ski pole principle”...
We had therefore resigned ourselves to not understanding why air drawn in horizontally and expelled downward—apparently drastically reducing aerodynamic efficiency—would provide an advantage. Until, after in-depth research, we found the patent filed by Yamaha to potentially exploit this principle on production motorcycles. Remember that such a patent does not cover racing, but it’s still surprising that Ducati didn’t file one...
In any case, here is the explanation provided by Yamaha in its 20-page patent. We have highlighted the most important passages in these excerpts.
[0006] This invention was designed in light of these factors, and aims to provide a motorcycle that allows both an increase in the volume of the heat exchanger located inside the side fairing and improved cooling efficiency.
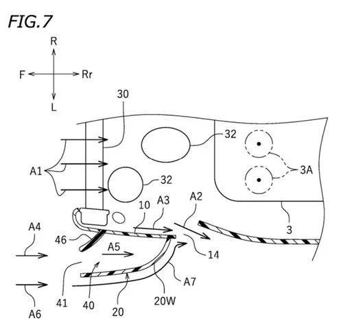
[0008] The motorcycle described here comprises:
  • a heat exchanger (radiator)
  • a side fairing positioned outward in the vehicle width direction relative to the heat exchanger, the side fairing having an air discharge orifice formed toward the rear relative to the heat exchanger
  • a guide element (downwash duct) positioned outside the side fairing in the vehicle width direction and in front of the air discharge port.
Diagram of downwash duct arrangement on the motorcycle fairing
The guide element comprises:
  • a first connecting section, placed in front of the air discharge opening and connected to the side fairing
  • an outer side surface that extends forward and outward in the vehicle width direction from this first connecting portion.
Details of the guide element’s connecting section and outer side surface
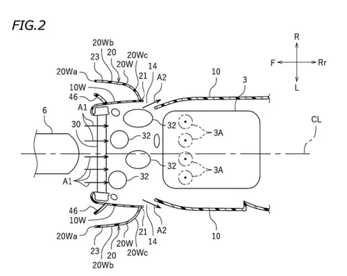
[0009] In the motorcycle described above, the guide element extends not only forward from the side fairing, but also outward in the vehicle width direction. Therefore, in a horizontal section, the length of the outer side surface of the guide element is greater than that of the side fairing.
Horizontal section illustrating outer side surface length relative to side fairing
The speed of the air flowing along this outer side surface is relatively high, which reduces the pressure at the air discharge port. This facilitates the evacuation of air through the discharge port, thereby increasing the airflow through the heat exchanger. As a result, it is possible to improve the cooling efficiency of the heat exchanger.
Airflow acceleration along the duct reducing pressure at the discharge port
Moreover, since the guide element is positioned outside the side fairing, the volume of the heat exchanger is not limited by its installation. This allows its volume to be increased. Therefore, the motorcycle described enables both an increase in heat exchanger volume and improved cooling efficiency.
[0067] An air guide plate 46 is arranged inside the duct 40. This makes it possible to straighten the flow in the duct 40 and thus reduce the aerodynamic drag of the guide element 20.
Ouch! Yamaha tells us the system is only meant to improve cooling, mainly for the oil radiator! But what about dirty air, ground effect, and downforce? It’s a bit like listening to Luigi Dall’Igna defend the swingarm spoiler as a radiator for the rear tire... Moreover, since 2024 the M1 has had no hot-air outlets at the bottom of the fairing, the same year the Downwash Ducts appeared on the sides. And its latest version is no exception. “Houston, we have a problem!”
Yamaha M1 fairing with side downwash ducts and no lower hot-air outlets
So we dug even deeper into the research.
Part two to follow.

Continue reading

loading

You might also like

Loading