MotoGP, la tecnica: il brevetto Yamaha che svela i segreti dei Downwash Ducts

MotoGP
domenica, 11 gennaio 2026 alle 18:00
SPY-Yamaha-1
di Marc Seriau/paddock-gp
Introdotti dalla Ducati, i Downwash Ducts sono ormai adottati da tutti i costruttori della MotoGP, ma è un brevetto depositato da Yamaha per le moto di serie a spiegarne il fascino.
Sono comparsi per la prima volta durante i test pre-stagionali in Qatar (Doha) nel marzo 2021, inizialmente testati dal collaudatore Michele Pirro, poi adottati dai piloti ufficiali Jack Miller e Francesco Bagnaia. Elementi insoliti allora, mentre ora adornano la parte anteriore di tutte le carene inferiori, tranne che sulle KTM dove sono interni.
Ma per quanto fossero diventati comuni, nessuno nel paddock poteva (o voleva) spiegare come funzionavano, ognuno proponeva la propria teoria, che spaziava dalla "pulizia dell'aria sporca" al "principio del bastoncino da sci"...
Ci eravamo quindi rassegnati a non capire perché l'aria aspirata orizzontalmente ed espulsa verso il basso, apparentemente riducendo drasticamente l'efficienza aerodinamica, fornisse un vantaggio. Finché, dopo approfondite ricerche, abbiamo scoperto il brevetto depositato da Yamaha per sfruttare potenzialmente questo principio sulle moto di serie. Ricordiamo che un brevetto del genere non copre le corse, ma è comunque sorprendente che Ducati non ne abbia depositato uno...
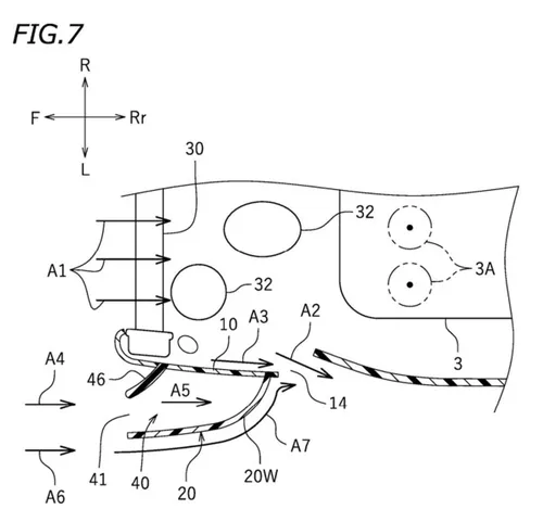
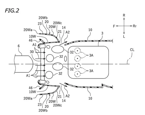
In ogni caso, ecco la spiegazione fornita da Yamaha nel suo brevetto di 20 pagine. Abbiamo evidenziato i passaggi più importanti in questi estratti.
[0006] La presente invenzione è stata progettata alla luce di questi elementi, e si propone di fornire una motocicletta che consenta sia un aumento del volume dello scambiatore di calore situato all'interno della carenatura laterale sia una migliore efficienza di raffreddamento .
[0008] La motocicletta qui descritta comprende:
  • uno scambiatore di calore (radiatore)
  • una carenatura laterale disposta verso l'esterno nella direzione della larghezza del veicolo rispetto allo scambiatore di calore, la carenatura laterale avente un orifizio di scarico dell'aria formato verso la parte posteriore rispetto allo scambiatore di calore
  • un elemento di guida (downwash duct) posizionato all'esterno della carenatura laterale in direzione della larghezza del veicolo e davanti alla porta di scarico dell'aria.
L'elemento guida comprende:
  • una prima sezione di collegamento, posta davanti all'apertura di scarico dell'aria e collegata alla carenatura laterale
  • una superficie laterale esterna che si estende in avanti e verso l'esterno nella direzione della larghezza del veicolo da questa prima porzione di collegamento.
[0009] Nel motociclo sopra descritto, l'elemento di guida si estende non solo in avanti dalla carenatura laterale, ma anche verso l'esterno in direzione della larghezza del veicolo. Pertanto, in una sezione orizzontale, la lunghezza della superficie laterale esterna dell'elemento di guida è maggiore di quella della carenatura laterale.
La velocità dell'aria che scorre lungo questa superficie laterale esterna è relativamente elevata, il che riduce la pressione sulla porta di scarico dell'aria. Ciò facilita l'evacuazione dell'aria attraverso la porta di scarico, aumentando così il flusso d'aria attraverso lo scambiatore di calore. Di conseguenza, è possibile migliorare l'efficienza di raffreddamento dello scambiatore di calore.
Inoltre, poiché l'elemento di guida è posizionato all'esterno della carenatura laterale, il volume dello scambiatore di calore non è limitato dalla sua installazione. Ciò consente di aumentarne il volume. Pertanto, la motocicletta descritta consente sia un aumento del volume dello scambiatore di calore sia una migliore efficienza di raffreddamento.
[0067] All'interno del condotto 40 è disposta una piastra di guida dell'aria 46. È così possibile rettificare il flusso nel condotto 40 e quindi ridurre la resistenza aerodinamica dell'elemento di guida 20.
Ahi! Yamaha ci dice che il sistema serve solo a migliorare il raffreddamento, principalmente del radiatore dell'olio! Ma che dire dell'aria sporca, dell'effetto suolo e del carico aerodinamico? È un po' come ascoltare Luigi Dall'Igna difendere lo spoiler del forcellone come radiatore per le gomme posteriori... Inoltre, la M1 non ha prese d'aria calda nella parte inferiore della carenatura dal 2024, anno in cui sono comparsi i condotti Downwash Ducts sui lati. E la sua ultima versione non fa eccezione. "Houston, abbiamo un problema!"
Ci siamo quindi spinti ancora più in là con le ricerche.
Seguirà la seconda parte.

Continua a leggere

loading

Potrebbe anche piacerti

Altre notizie

Loading